宝马家族绝大部分车型的方向盘都是圆形的,经典的丁字裤造型现在仍然备受大家喜爱,而且在3、9点钟位置都有相比其他品牌更加明显的曲线设计,双手握住方向盘的3、9点钟位置,在遇到突发状况时,左右转向更平均,同时对于方向盘的控制也更稳定。
直到宝马iX的出现,虽然方向盘更加粗壮、握感更加舒服,但是其造型不再是圆形,变成了六边形,未来的宝马方向盘会变成什么样呢?来看看宝马最新的专利申请:
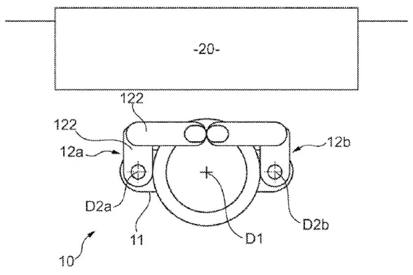
说实话,我看到这个专利图感觉...有点迷,把方向盘尺寸缩小之后再附加两个手柄,转向的原理还是和原来相一致,据称这样的设计是为了减小转向幅度、进一步拓展内部空间(腿部空间),宝马已经在中国和美国提交了专利申请,看来是认真的。
各位觉得这样的方向盘怎么样?它真的能增加很多的腿部空间吗?用增加的一点空间换来一种相对更危险的方向控制逻辑?未来宝马实现了更高级别的自动驾驶之后,何不像BMW Vision NEXT100概念车那样,直接设计成伸缩的?
现在科学技术越来越发达,想实现这样的电控方案应该不难,但是也要考虑如果驾驶员需要紧急接管车辆,方向盘能以多快的速度恢复原位?因为方向盘不是圆的,在此过程中驾驶员能不能以最快速度抓住方向盘?这都是需要考虑的问题。
这次的方向盘让我想到了之前宝马全新换挡机构的专利图,鸡腿档杆是车友们津津乐道的设计之一,而现在其造型已经多种多样,同样是iX的出现又一次颠覆了Bimmer的认知,而新专利中显示,新的换挡杆将会是全新的块状设计样式,就是下面这样:
上图为效果图
新专利图中的宝马档杆是可以上下升降的,用上方的一块触控屏来控制。车辆未启动时整个档把区域和周围是齐平的,换挡机构(我都不知道该怎么称呼它了)的上方显示有一键启动和红色的P挡,点击启动按键之后,机构会升起来,同时显示档位。
而且车主可以停车之后直接下车离开,车辆会根据地面坡度或油门踏板等因素自动决定是否需要挂入P挡,这会将进一步简化用车步骤,我感觉想法是好的,但是车辆安全性和机构的易用程度就得多加考虑了。
从专利图中来看,除了上方的设计还会有其他样式的存在方式,包括圆形可升降和旋转式换挡杆,后者是怀挡?
现在看这些专利图似乎感觉很不可思议,因为我们已经习惯传承了几十年上百年的方向盘和档把,概念车和专利图总是超前的,等到它们真正实现了之后,实际体验会不会真香?





























